苹果又有新动作!新专利曝光 眼镜可解锁你的iPhone
2021-01-13 23:42:01来源:中关村在线编辑:居小桃
扫一扫
分享文章到微信
扫一扫
关注鹿财经网微信公众号
原标题:苹果又有新动作!新专利曝光 眼镜可解锁你的iPhone
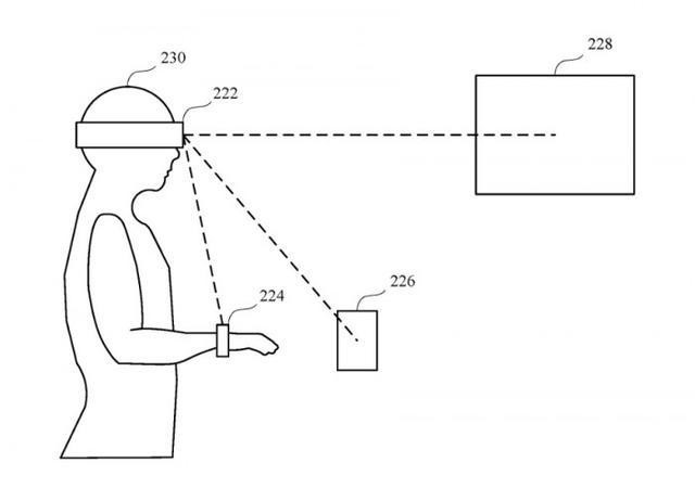
苹果即将推出的 “Apple Glass ”(苹果眼镜)能让用户跳过解锁iPhone这一步骤。苹果目前已经获得了一项专利,就是利用 “苹果眼镜”或类似设备,自动解锁用户的其他设备。也就是说在佩戴 “苹果眼镜 ”时拿起iPhone,用户甚至不一定要看手机,就可以直接使用它,不需要输入密码或等待Face ID。
投稿邮箱:lukejiwang@163.com 详情访问鹿财经网:http://www.lucaijing.com.cn
相关推荐

原标题:苹果Apple Watch Ultra 3曝光:5G+卫星通信,续航与功能再升级 近期,关于
智能制造2025-08-07
