又一项新技术诞生 特斯拉欲使用激光来清理车身上的污渍
2019-11-26 20:14:01来源:手机中国编辑:居小桃
扫一扫
分享文章到微信

扫一扫
关注鹿财经网微信公众号
原标题:又一项新技术诞生 特斯拉欲使用激光来清理车身上的污渍
你如果在一辆汽车的配置表中看到一栏写着“激光雨刷”会不会觉得很炫酷?看来这就是特斯拉正在进行的一项研究,而且据外媒报道,现在特斯拉已经为这项技术申请了专利,名字叫做“脉冲激光清洗车玻璃制品上的污渍和光伏发电组件”。是不是有点拗口?大概的意思就是用激光来清洗车玻璃,基本可以理解为“激光雨刷”,只不过它可以清理的不只是挡风玻璃。

特斯拉激光系统专利

特斯拉激光系统专利
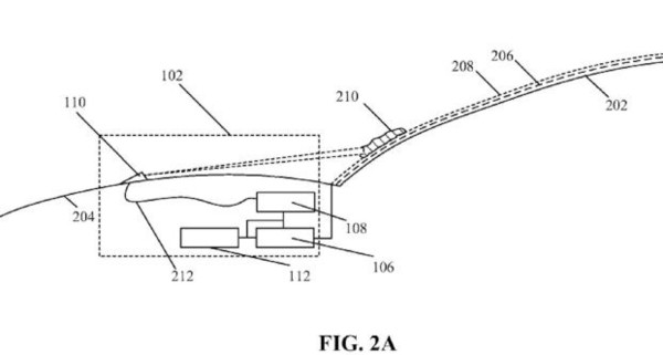
从专利图中可以看出,该系统组件被安装在汽车“引擎盖”下方靠近前挡风玻璃的位置,“引擎盖”上会探出两个出口,就像所有汽车引擎盖上的出水口一样,不过它们喷射的不是水,而是激光束。特斯拉解释说,该系统还可以自动清除任何阻碍自动驾驶汽车摄像头视野的碎片。

特斯拉激光系统专利
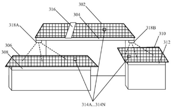
此外,特斯拉计划利用该系统自动清理屋顶太阳能电池板上的碎片,这也就是专利名字中的“光伏发电组件”。但是就像大分部情况一样,很多汽车厂商都会申请这样那样的神奇专利,但是这些专利成果却永远不会出现在产品配置表上。目前还不知道特斯拉想把这个系统装在哪款车型上,甚至是会不会安装到任何一辆车上。
投稿邮箱:lukejiwang@163.com 详情访问鹿财经网:http://www.lucaijing.com.cn
相关推荐

























